Схема и текст из книги В.Т.Полякова "Трансиверы прямого преобразования"

- rlc_phse_shift_90.png (7.58 KiB) Viewed 34194 times
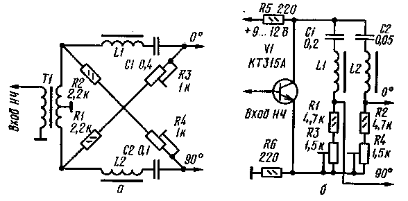
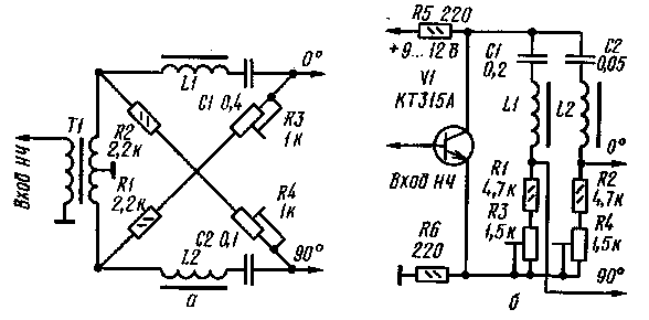
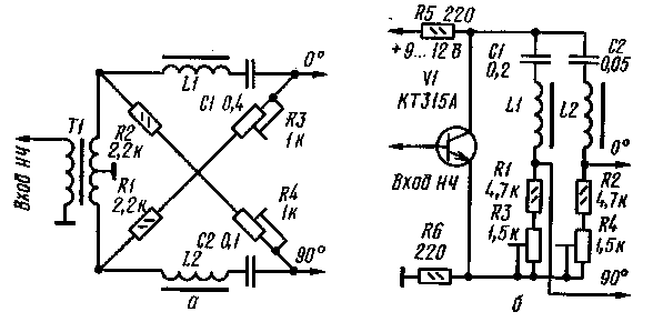
RLC фазовращатели чрезвычайно удобны из-за простоты настройки. В отличие от RC фазовращателей они не требуют предварительного подбора или подгонки деталей. На рис. 39 представлены схемы RLC фазовращателей 4-го порядка, работающих на высокоомную нагрузку. Фазовращатели питаются симметричным противофазным напряжением. В схеме рис. 39, а оно создается трансформатором Т1, а в схеме рис. 39, б — фазоинвертером на транзисторе VI. Ветви фазовращателя можно включить и противофазно, как на рис. 39, а, и синфазно, как на рис. 39, б, что для работы фазовращателя безразлично. Частоты настройки последовательных контуров L1C1 и L2C2 составляют соответственно, 475 и 1900 Гц (среднегеометрическое из частот настройки элементарных звеньев табл. 3). Они подчиняются соотношению
f1f2= fнfв = f20
где fн, fв и fо — нижняя, верхняя и средняя частоты звукового спектра. Разнос частот f1 и f2 увеличивает широко-полосность фазовращателя, но ухудшает точность фазового сдвига.
Катушки фазовращателя намотаны на кольцах К16Х8Х6 из феррита 2000НМ, они содержат: для фазовращателя рис. 39, a L1 400 витков и L2 200 витков; для фазовращателя рис. 39, б L1 560 витков и L2 280 витков. Катушки можно намотать проводом ПЭЛ или ПЭЛШО ОД... 0,25.
Соотношение витков 1:2, соответственно индуктивности соотносятся как квадраты - 1:4.
Посчитаем индуктивность из известных частот резонанса контуров
L1 - 280mH
L2 - 70mH
Интересно, что такой фазовращатель можно реализовать на одинаковых индуктивностях. В частности мной в моделировщике были подобраны следующие номиналы звеньев:
50mH/2uF/500R и 50mH/0.15uF/2000R